截止阀
一种截水阀门
王卫东  2013-03-16 10:46
价格:未填
品牌:联系电话:13718772032
型号:出售专利
规格:专利号:201120052650.2
发货:3天内
购买咨询
       
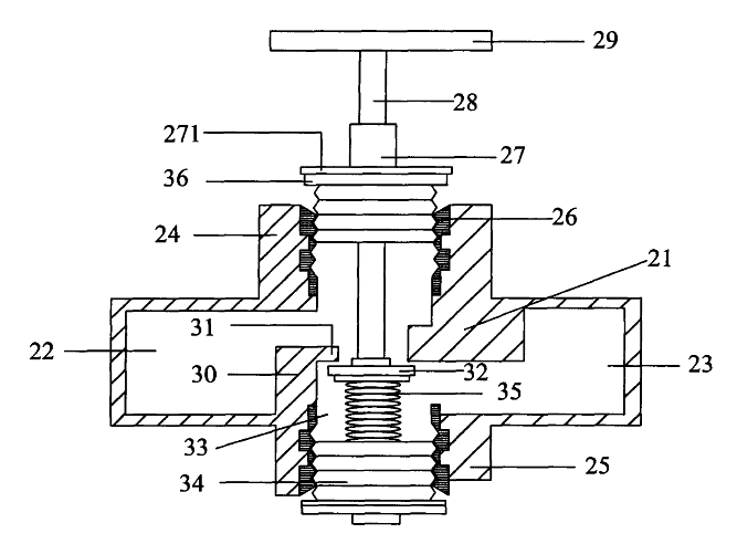
       1,截水阀门结构包括:阀体和安装在阀体上的扳手。阀体设置有进水管、出水管、**安装管和第二安装管,**安装管上设置有卡扣,卡扣中心处设置有通孔,调节螺杆中部与所述通孔螺纹连接,并且调节螺杆一端连接扳手,另一端设置在阀体内;第二安装管与所述**安装管相对,第二安装管上部设置有内部中空的柱形管,柱形管连通出水管与进水管,柱形管上部的管口设置有向柱形管内弯折的挡边;密封垫设置在第二安装管内,其下部设置有弹性元件,弹性元件下部设置有堵头。

2,本装置更换阀门封条或卡扣时,阀门依然可以截水而关闭干路水管的阀门,故不影响其它支路的水流,相对于其它市场中流通的阀门优势明显。

       3,设计结构简单,操作安装容易,所制样本证明其性能可靠,成本低廉,易于批量大规模生产,市场潜力巨大。


联系方式
公司:王卫东
姓名:王卫东(先生)
手机:13718772032
地区:北京
QQ:823151329
发表评论
0评