品牌:博耐斯
型号:CS45H,CS15H,SER25,882,883
使用温度:高温
材质:铸铁,铸钢,锻钢,不锈钢等
起订:1台
供应:119台
发货:3天内
购买咨询
882、883倒吊桶式蒸汽疏水阀,过热蒸汽疏水阀,高压力疏水器
产品说明
882、883倒吊桶式蒸汽疏水阀的开启和关闭是根据凝结水和蒸汽的密度并来动作的,其动作准确,可靠。用于石油、化工、电力、纺织印染、医疗、医药等行业的各种蒸汽加热设备、蒸汽管网和低过热蒸汽工况。它能迅速地排除凝结水,阻止蒸汽泄漏。产品特点
1、即能连续又能间歇排放饱和凝结水加热设备不会有水积聚。2、耐水击倒吊桶结构不会因水击而遭到损坏,使用寿命长。
3、排空气性能好倒吊桶上设有溢出排气孔,可有效地预防蒸汽气锁和空气气堵。
4、允许背压高背压率达85%。
5、维修方便内部零件采用不锈钢制造,均安装在阀盖上,并设有过滤网装置,日常维护方便。
产品图
排量图
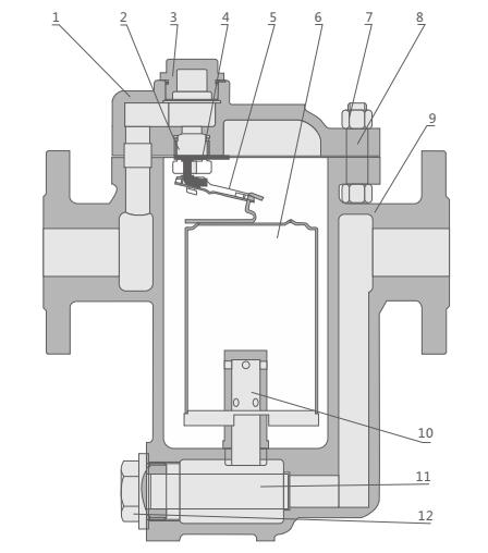
结构分析图
主要零部件
| 序号 | 名称 | 材料 |
| 1 | 阀盖 | WCB |
| 2 | 封圈 | 304 |
| 3 | 螺堵 | 2Cr13 |
| 4 | 吊支架 | 2Cr13 |
| 5 | 挂支架 | 2Cr13 |
| 6 | 浮筒 | H62 |
| 7 | 螺母 | H62 |
| 8 | 螺柱 | 65Mn |
| 9 | 阀体 | 304 |
| 10 | 增压筒 | 45 |
| 11 | 滤网 | 35CrMoA |
| 12 | 滤网座 | 304+石墨 |
外形结构图
主要外形尺寸
| 型号 | 口径DN | L | H | h | W |
| CS45H | 15 | 170 | 166 | 94 | 102 |
| 20 | 170 | 166 | 94 | 102 | |
| 25 | 210 | 166 | 94 | 102 | |
| 32 | 230 | 290 | 160 | 142 | |
| 40 | 230 | 290 | 160 | 142 | |
| 50 | 230 | 290 | 160 | 142 | |
| 65 | 280 | 290 | 160 | 142 |
882、883倒吊桶式蒸汽疏水阀,过热蒸汽疏水阀,高压力疏水器
